Добавь сайт в закладки нажми CTRL+D
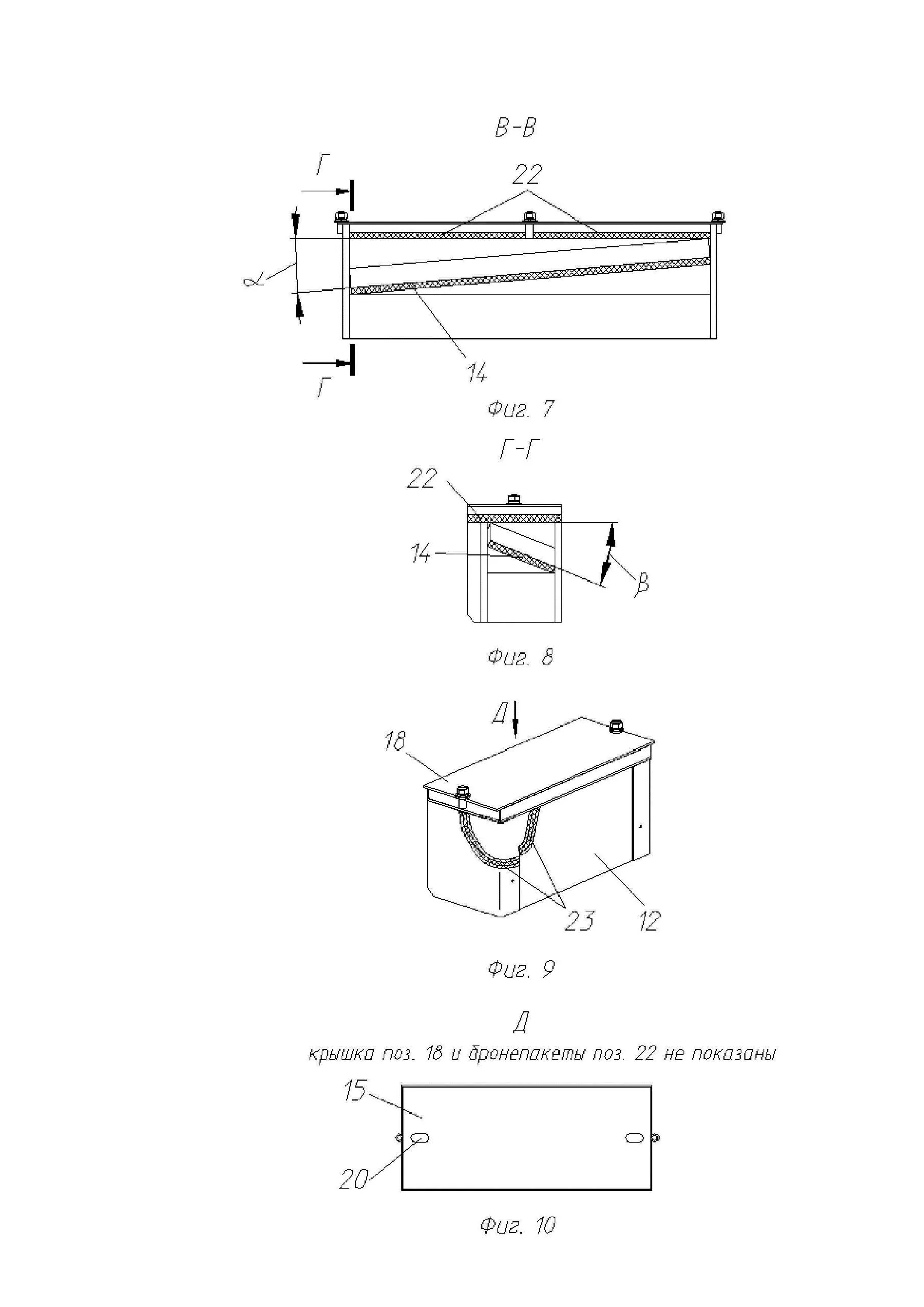
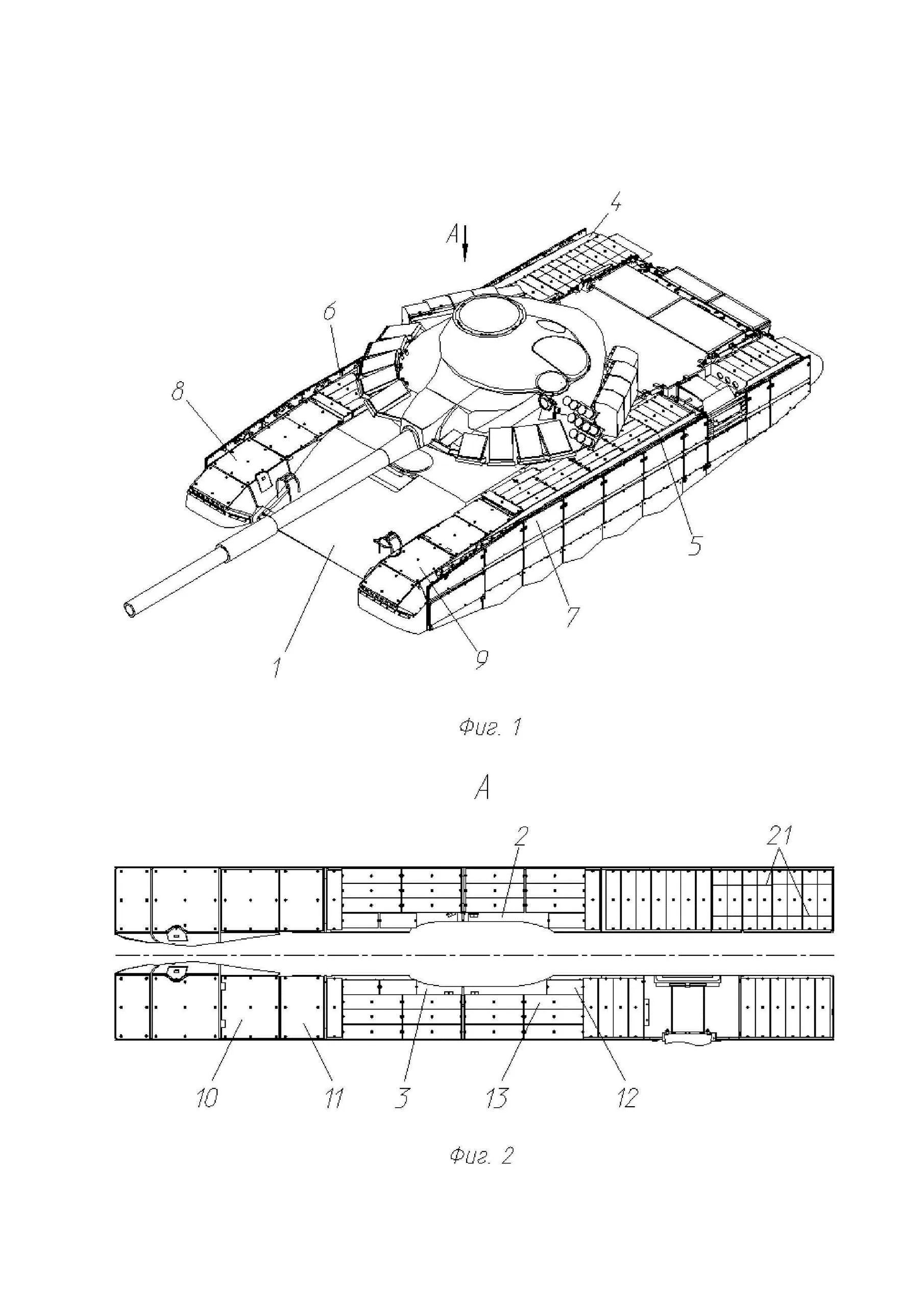
Поводом стала патентная иллюстрация, где показаны новые бортовые спонсоны с динамической защитой.
Спонсоны на танках — это специальные выступы по бокам корпуса, в которых размещается вооружение (пушки или пулеметы). Это решение пришло в танкостроение из военно-морского флота и было характерно для самых первых бронированных машин.
Эта модификация делает кумулятивные боевые части дронов неэффективными при попадании в борт под углами от 0 до 90 градусов. Судя по конструкции, в защитной системе спонсонов используются сразу три типа ДЗ, чтобы перекрыть уязвимые зоны максимально плотно.
Недостаток у решения есть: из-за установки ДЗ пришлось отказаться от внешних бортовых топливных баков, что немного уменьшает запас хода. Но в текущих условиях это выглядит разумным компромиссом и на боевые возможности танка по большому счёту не влияет.
Осталось понять, какова эффективность новой защиты в реальных условиях. От этого можно сделать дальнейшие выводы и принять важные решения, например вернуть танкам возможность безопасно вести механизированные штурмы крупными группами.
Поделись видео:





