Добавь сайт в закладки нажми CTRL+D
Французская школа танкостроения всегда знала толк в экстравагантной технике — от Renault FT до современного гиганта Leclerc. Но проект Виктора-Бартелеми Жаке стоит особняком. Его Train d’Assaut («Штурмовой поезд») не просто машина, а смелый эксперимент, так и застывший в виде чертежей на исходе Второй мировой.
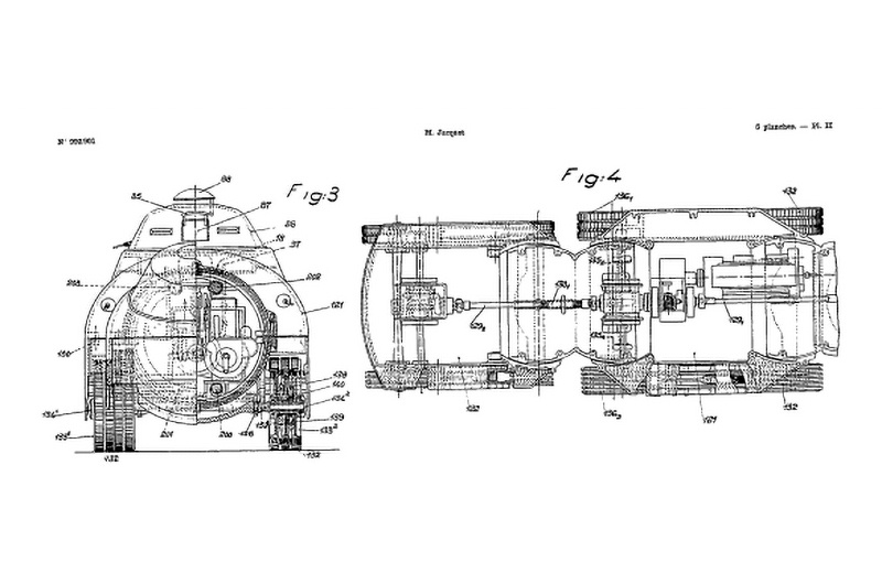
В пыльных архивах сохранился патент под номером FR907544. В нём вместо привычного танка описана сочленённая многосекционная махина. По принципу движения она больше напоминала гигантское насекомое, чем классическую гусеничную коробку.Атомный танк Крайслера – Как Chrysler TV-8 в 50-х оказался опаснее для экипажа, чем врага
Модульная архитектура Train d’Assaut
Жаке работал над чертежами в 1944 году, когда Франция освобождалась от оккупации и лихорадочно переосмысляла опыт танковых сражений.
Конструктор хотел решить извечную проблему — проходимость на экстремальном рельефе. Пока другие наращивали мощность двигателей, он предложил разделить танк на звенья.
Для 1940-х это была почти научная фантастика. Уровень технологий и систем управления того времени едва ли позволил бы такой «сороконожке» сдвинуться с места, не разорвав гидравлические магистрали.
О самом Жаке известно очень мало. В отличие от звёзд индустрии вроде Луи Рено, его след в истории теряется между 1920-ми и 1940-ми годами.
Вероятно, за плечами у него был опыт Первой мировой и талант механика-самоучки. Именно статус «аутсайдера» позволял ему проектировать без оглядки на сухие армейские методички и жёсткие доктрины.
Три звена одной цепи или анатомия «танкового поезда»
Согласно задумке, танк состоял из трёх бронированных кабин, связанных гидравликой. Каждая секция выполняла свою роль.
Головной модуль сделали узким и клиновидным — он должен был буквально «прошибать» препятствия.
В центре находилось «сердце» машины: самый крупный блок с двигателем, трансмиссией и местами для водителя и командира. Хвост служил противовесом и площадкой для вспомогательного огня.
Поражает компактность: вся эта сложная конструкция в длину занимала всего 6–7 метров.
Для сравнения, современный Leclerc со своей пушкой вытягивается почти на 10 метров. При этом каждое звено Жаке оснастил собственной башней и независимой подвеской.
Между прорывной гидравликой и старыми рессорами
Главной «фишкой» проекта Виктора-Бартелеми Жаке стали гидравлические шарниры.
В теории они позволяли танку взбираться почти на вертикальные стенки высотой с саму машину и изгибаться в узких проулках. Если нужно было перебраться через противотанковый ров, шарниры блокировались, превращая «поезд» в жёсткий мост.
Мощность мотора передавалась на все три пары гусениц через сложную систему валов и дифференциалов. Но здесь инновации Жаке столкнулись с суровой реальностью.
В качестве подвески он предложил использовать листовые рессоры. К середине 1940-х это выглядело как анахронизм — всё равно что поставить двигатель от болида на телегу с сеном.
Экипаж из десяти человек и пушка в хвосте
Внутри «танкового поезда» Train d’Assaut царила ужасная теснота.
Чтобы управлять такой махиной, требовалась команда из 8–10 человек. Водитель сидел высоко в центральной башне, наблюдая за миром через узкие щели, а командир, скорее всего, разрывался между приказами и наводкой пушки.
С вооружением Жаке тоже пошёл своим путём. Основной калибр — 75-мм орудие — он разместил в корме.
Наводить его пришлось бы поворотом всего корпуса, как на истребителях танков, что в условиях боя выглядело сомнительно. По бокам «раскидали» четыре пулемёта, а в перспективе планировали ставить даже пневматические миномёты.
Броня из литой стали должна была «отбивать» снаряды за счёт округлых форм. Но такая геометрия — кошмар для промышленности. Литьё сложных кабин в несколько раз удорожало и замедляло бы выпуск машин в истощённой войной стране.
Почему «сороконожка» не поехала
Как это часто бывает в итоге, проект Жаке погубила его же сложность.
В 1945 году Франции нужны были простые и понятные танки, а не футуристические монстры с капризной гидравликой. Танк «поезд» оказался слишком сложным для эпохи, которая только училась строить по-настоящему массовую технику.
Но Жаке не ошибся в одном: шарнирно сочленённые машины действительно стали будущим.
Сегодня его идеи живут в современных роботах и вездеходах. «Штурмовой поезд» остался на бумаге памятником инженерной отваге — попыткой сделать невозможное в самое неподходящее для этого время.
Поделись видео:

